Холодильник «Мир» КШД-270/80 двухкамерный. Он предназначен для замораживания и длительного хранения замороженных продуктов в морозильной камере и непродолжительного хранения продуктов в холодильной камере.

Устройство холодильника. Двухкамерный компрессионный холодильник «Мир» (рис. а) представляет собой напольный шкаф с холодильным агрегатом, имеющим двухтемпературный испаритель с автоматическим оттаиванием. Выпускают холодильники трех моделей с общим полезным объемом соответственно 270, 300, 350 дм3 и низкотемпературной камерой объемом 80 дм3.Снаружи шкаф металлический, изнутри пластмассовый. По стенкам и двери проложена теплоизоляция из пенополиуретана.Шкаф разделен горизонтальной выдвижной промежуточной стенкой 2 на две камеры: верхнюю — холодильную и нижнюю — низкотемпературную. В холодильной камере расположен «плачущий» испаритель 7, в морозильной камере — низкотемпературный испаритель 1. Обе камеры закрываются дверями. По периметру каждой двери закреплены двухбалонные уплотнители 11 и 18 с магнитной вставкой, обеспечивающей плотное прилегание дверей к торцевой поверхности шкафа. Дверь холодильной камеры с внутренней стороны имеет панель 12 с формованными местами для крепления полок. Боковые стенки холодильной камеры имеют выступы для установки полок на разную высоту. В низкотемпературной камере имеются корзины 21 и 22 для хранения замороженных продуктов.Охлаждение воздуха в камерах и хранящихся в них продуктов осуществляется холодильным агрегатом, состоящим из герметичного компрессора 17 (рис. б), конденсатора 4, фильтра-осушителя, капиллярной трубки и двухтемпературного испарителя, соединенных между собой трубопроводами и образующих герметичную систему, внутри которой циркулирует хладагент R12.Охлаждение низкотемпературного испарителя достигается за счет дросселирования циркулирующего в системе холодильного агрегата хладагента в капиллярной трубке и кипения его в испарителе при низком давлении.Испаритель холодильной камеры охлаждается потоком паров хладагента, отсасываемых компрессором. Необходимая температура в камерах холодильника поддерживается путем периодического включения и отключения компрессора, осуществляемого с помощью терморегулятора, расположенного на панели управления холодильника.При включении холодильника на панели загорается зеленая индикаторная лампа Л2 (рис. в), которая сигнализирует о том, что к холодильнику подведено напряжение. Красная лампа ЛЗ загорается автоматически при температуре в низкотемпературной камере -15°С и выше, что не означает аварийного состояния холодильника, а только сигнализирует о повышении температуры. Включает и выключает лампу ЛЗ терморегулятор Т1 типа Т-144-2. Индикаторная лампа желтого цвета загорается при установке переключателя S2 на режим «Замораживание». Выключатель S1 включает и выключает лампу Л1 освещения холодильной камеры. Температурный режим в камерах холодильника устанавливается путем поворота ручки терморегулятора типа Т-130-2. Пуск электродвигателя и защита его обмоток от тепловых и токовых перегрузок осуществляются пускозащитным реле К типа Р4-2.Расположение приборов управления и сигнализации показано на рис. г.Снеговой покров с испарителя, расположенного на задней стенке холодильной камеры, удаляется автоматически в период остановки компрессора с помощью нагревателя, установленного на поверхности испарителя. Во время оттаивания испаритель покрывается каплями воды, которые по водоотводящей системе стекают в бак для талой воды, находящийся на конденсаторе. При этом холодильник продолжает потреблять электроэнергию, так как резистор нагревателя R2 (см. рис. в) испарителя для оттаивания «шубы» и резистор нагревателя R1 проема двери низкотемпературной камеры остаются включенными.Оттаивание низкотемпературной камеры ручное, осуществляется при отключенном от электросети холодильнике и открытой двери. Талая вода стекает в резервуар, установленный в холодильной камере. Иней удаляют лопаткой, входящей в комплект холодильника.Холодильники «Мир-101» КШД 270/80 и «Мир-101-2» КШД 270/80 выполнены в виде напольного шкафа с сервировочной поверхностью. Устройство холодильников аналогично холодильнику «Мир» КШД 270/80, за исключением некоторых конструктивных изменений и дополнений.
В частности, талая вода поводоотводящеи системе стекает в сосуд, находящийся под холодильником (рисунок). 
В верхней части наружного шкафа холодильника «Мир-101» установлена панель с приборами управления, индикации и освещения. Световые индикаторы сигнализируют о наличии напряжения, о включении режима замораживания. Переключение с режима на режим производится переключателем (рис. а).
В верхней части наружного шкафа холодильника «Мир-101-2» установлена панель с приборами управления, цифровой индикации и звуковой сигнализации и освещения (рис. б). Световой индикатор сигнализирует о включении режима замораживания, переключение с режима хранения на режим замораживания производится переключателем. Табло цифровой индикации показывает температуру в морозильной и холодильной камерах. Если температура в холодильной камере выше 9 °С, срабатывает звуковая сигнализация и начинает мигать индикатор температуры. Отключить звуковую сигнализацию можно нажатием кнопки
.
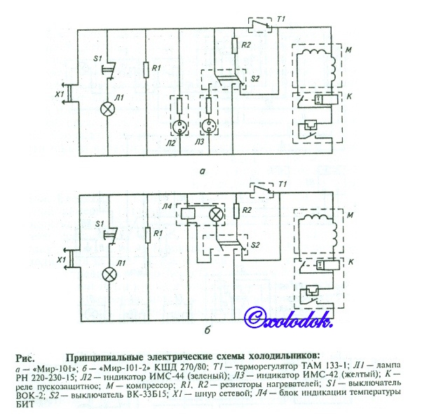
Принципиальные электрические схемы холодильников приведены на рисунке. 
Схемы электрических соединений холодильника «Мир-101» - а ,холодильника «Мир-101-2» - б. 